【特許権者】トヨタ自動車株式会社
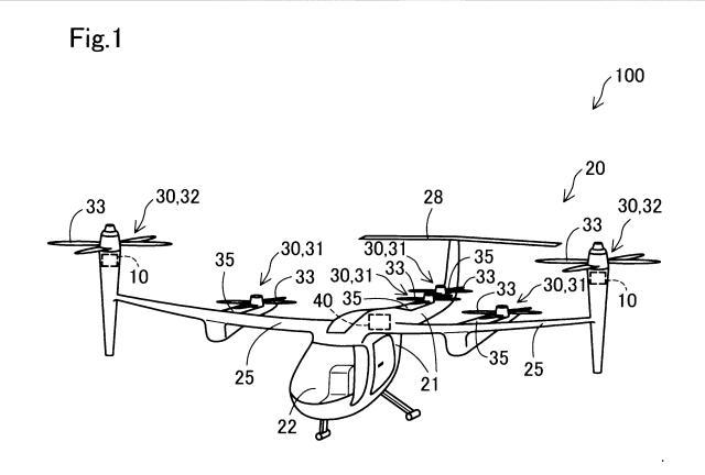
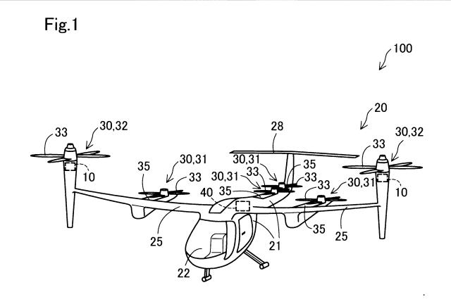
本実施の形態では、地上移動手段5だけでなく、航空移動手段もモビリティサービスに利用される。特に、航空移動手段として、電動垂直離着陸機(eVTOL: electric Vertical Take-Off and Landing aircraft)10が利用される。eVTOL10は、電気モータによって駆動される小型で軽量なVTOLである。そのようなeVTOL10は、一般的な航空機と比較して、省スペース、低コスト、低騒音といった特徴を有している。eVTOL10は、例えば、比較的短距離の移動を高頻度に繰り返すエアタクシー事業に有用である。
【0017】
離着陸場30は、eVTOL10が離陸あるいは着陸する場所である。離着陸場30としては、空港、飛行場、ヘリポート、ビルの屋上、eVTOL格納庫、等が例示される。
【0018】
更に他の例として、離着陸場30は、自動車のディーラーであってもよい。その場合、ディーラーの敷地内に、eVTOL10が離着陸するためのスペースが設けられる。ディーラーを離着陸場30として利用することによって、自動車を利用した地上モビリティサービスとeVTOL10を利用した航空モビリティサービスをシームレスに連結することが可能となる。また、両方のモビリティサービスをワンストップで提供することが可能となる。更に、ディーラーネットワークを活用することによって、モビリティサービスのネットワークを構築することが可能となる。同様に、離着陸場30は、レンタカー店舗であってもよい。


